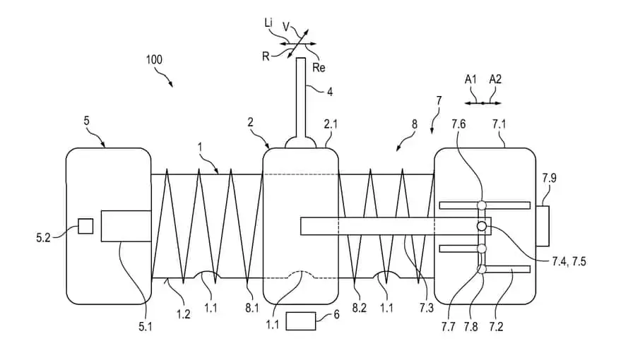
Yayın Tarihi 17.03.2026- 17:53 Porsche’den hem manuel hem otomatik kullanılabilen yeni vites sistemi patenti Porsche, sürücünün tercihine göre hem manuel hem de otomatik olarak çalışabilen yeni bir vites seçici sistemi için patent başvurusunda bulundu. Otomobil üreticisi bu başvuruyu Ağustos 2024’te Alman Patent ve Marka Ofisi’ne yaptı ancak patent belgeleri mart ayının başında yayımlandı. Patenti ilk fark eden CarBuzz oldu. Belgelerde, standart bir otomatik gibi çalışabilen bir shift-by-wire (elektronik kontrollü) vites seçici tarif ediliyor. Bu sistemde vites kolu ileri-geri hareket ederek D (Sürüş), N (Boş) ve R (Geri) modları arasında geçiş yapabiliyor. Sistemin en dikkat çekici noktası ise H-düzeni seçeneği. Sürücü, vites kolunu sağa-sola ve ileri-geri hareket ettirerek klasik bir manuel şanzımandaki gibi istediği vitesi seçebiliyor. Tüm bu hareketler sensörler aracılığıyla algılanırken, yaylar ve titreşim motorları sayesinde gerçek bir manuel geçiş hissi yeniden oluşturuluyor. Böylece Porsche, aracın altında hangi tür şanzıman bulunursa bulunsun (tork konvertörlü otomatik ya da çift kavramalı), manuel benzeri bir sürüş deneyimi sunmayı hedefliyor. Bu yaklaşım, Koenigsegg tarafından geliştirilen ve Koenigsegg CC850 modelinde kullanılan “Light Speed Transmission” sistemini akıllara getiriyor. Söz konusu sistemde 9 ileri otomatik şanzıman, sürücüye 6 farklı vites oranını manuel olarak seçme imkânı tanıyor. Ancak Porsche’nin geliştirdiği bu sistemin henüz patent aşamasında olduğunu hatırlatmakta fayda var. Bu nedenle teknolojinin seri üretime geçip geçmeyeceği henüz kesin değil. Otomobil üreticileri, her zaman gerçeğe dönüşmeyebilecek pek çok fikir için patent başvurusunda bulunabiliyor. Görsel Ve Kaynak Google Yazı gezinmesi Volkswagen ID. Cross için ilk bilgiler ortaya çıktı Bir Efsane Elektrikle Dönüyor: Tamamen Yeni Audi A2 e-tron İçin Resmi Duyuru Geldi!